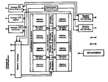
Les différentes versions d'AMSTRAD utilisent le même composant de base pour leur mémoire RAM : le circuit intégré HM 4864 ou un équivalent. Il s'agit d'une mémoire dynamique (DRAM) de 64 k-b/ts, dont il faut évidemment huit exemplaires pour stocker 64 k-octets.
La figure 2 résume ses principales caractéristiques. Pour permettre l'utilisation d'un boîtier à 16 broches seulement, le fabricant n'offre que huit lignes d'adresse au lieu des seize théoriquement nécessaires : l'adresse complète est donc scindée en deux mots de huit bits, l'adresse « colonne » ( columne ) et l'adresse « rangée » (row). Ces deux moitiés sont appliquées l'une à la suite de l'autre sur les lignes d'adresse de la mémoire, ce qui complique notablement les circuits annexes : une batterie de « multiplexeurs » 74 LS 153 est nécessaire, mais le contrôleur d'écran en profite aussi ! 
Parallèlement, ce type de mémoire « dynamique » est plus lourd à utiliser que des mémoires « statiques » (SRAM) : il est clair que le constructeur a préféré employer des mémoires aussi peu coûteuses que possible, quitte à compliquer la conception des autres parties de la machine. Cycles de lecture
 Cycles de d'écriture
 Les mémoires dynamiques « oublient » en effet très vite les données qui y sont inscrites, ce qui oblige à les « rafraîchir » (refresh) à intervalles réguliers. Fort heureusement, le Z 80 est particulièrement bien adapté à ce type de fonctionnement.  RAM HM4864
CPCrulez[Content Management System] v8.732-desktop/c Page créée en 594 millisecondes et consultée 2859 foisL'Amstrad CPC est une machine 8 bits à base d'un Z80 à 4MHz. Le premier de la gamme fut le CPC 464 en 1984, équipé d'un lecteur de cassettes intégré il se plaçait en concurrent du Commodore C64 beaucoup plus compliqué à utiliser et plus cher. Ce fut un réel succès et sorti cette même années le CPC 664 équipé d'un lecteur de disquettes trois pouces intégré. Sa vie fut de courte durée puisqu'en 1985 il fut remplacé par le CPC 6128 qui était plus compact, plus soigné et surtout qui avait 128Ko de RAM au lieu de 64Ko. |
|