CODINGCLASSEURS WEKA ★ Comment exploiter toutes les ressources et augmenter les performances de votre AMSTRAD CPC ★

8/5.1 - Copies et transmissions de cassettesCoding Classeurs Weka
8/5.1 - Copies et transmissions de cassettes

Caractéristiques

Comme beaucoup d'autres ordinateurs de la même catégorie, les Amstrad enregistrent leurs cassettes selon le procédé « FSK » (Frequency Shift Keying) : c'est-à-dire modulation par saut de fréquence).

Pour tout programme ou fichier se présentant dans la mémoire de la machine sous la forme d'une longue liste de « 1 » et de « 0 », il a été imaginé d'affecter une tonalité de fréquence F0 au zéro, et une autre de fréquence F, au un.

Pour peu que ces fréquences ne soient ni trop basses ni trop hautes, elles peuvent facilement être enregistrées et relues par des magnétophones de qualité très moyenne.

Bien que l'écoute d'une cassette « informatique » sur un magnétophone « audio » ne soit guère agréable à l'oreille, le contenu de la bande ne diffère pas techniquement d'un enregistrement de musique ou de paroles, ce qui permet d'envisager des opérations du type copie ou transmission par téléphone ou radio.

Attention, il vous faudra résister à la tentation de copier des logiciels du commerce dûment protégés, et faire preuve de beaucoup de minutie dans vos manipulations !
N'espérez pas cependant échanger des logiciels ou des fichiers sur cassettes avec des utilisateurs équipés d'ordinateurs d'autres marques : il existe presque autant de « formats » d'enregistrement que de types de « micros », même si quelques formes de standardisation ont été définies (Kansas-City ou Basicode, par exemple).
A part les questions purement logicielles de signification des 1 et des 0 (organisation des données enregistrées), deux caractéristiques fondamentales sont attachées à chaque standard d'enregistrement :

  • fréquences audio correspondant respectivement au 0 et au 1.
  • vitesse de succession des 1 et des 0, exprimée en bauds : à ia vitesse de 1000 bauds, par exemple, mille 1 ou 0 sont enregistrés ou lus chaque seconde !
Le cas de l'Amstrad est intéressant à approfondir, du fait de ses particularités : sauf ordre contraire (SPEED WRITE 1 ), l'enregistrement se fait à 1 000 bauds à l'aide de fréquence d'à peu près 500 et 1 000 Hz.

En vitesse rapide, tout est doublé : 2 000 bauds et des fréquences d'environ 1 000 à 2 000 Hz, exactement comme si l'on « passait la bande » à vitesse double.
En lecture, l'ordinateur reconnaît lui-même la vitesse utilisée lors de l'enregistrement, ce qui nous a donné l'idée suivante : nous avons recopié une cassette sur une bande magnétique en bobine tournant à 9,5 cm/s, avant de la copier à nouveau sur une cassette, mais en lisant la bande intermédiaire à 19 cm/s. Le résultat obtenu est riche d'applications : la cassette ainsi « accélérée » se charge deux fois plus vite que l'originale, et peut être « produite » en série (intéressant si vous envisagez de commercialiser vos meilleurs logiciels...).

Encouragé par ce premier succès, nous avons tenté de quadrupler la vitesse en faisant tourner la bande mère â 38 cm/s : là c'est un peu juste, mais faisable.
Autre tentative intéressante, essayer des vitesses intermédiaires : le programme se charge tout aussi bien si on accélère la bande de 30 %, par exemple !
En fait, l'Amstrad accepte de charger des cassettes enregistrées à pratiquement n'importe quelle vitesse comprise entre deux limites qui dépendent surtout de la qualité du matériel utilisé. Cela signifie qu'il n'y a aucune difficulté particulière à copier des cassettes informatiques par voie « audio », du moins avec du matériel de bonne qualité (c'est d'ailleurs ainsi que sont fabriquées les cassettes logicielles du commerce...).

Paradoxalement, la qualité est souvent meilleure en accéléré qu'à vitesse normale : 1 000 et 2 000 Hz sont des fréquences plus proches de la meilleure zone de fonctionnement des magnétophones que 500 et 1 000 Hz.

L'important est de travailler avec du matériel de bonne qualité et si possible monophonique. Transiter par un magnétophone à bobines est l'idéal, mais on peut aussi accoupler deux bonnes platines à cassette : il faudra alors dans certains cas intercaler un « égaliseur » (ou « equalizer ») afin que les deux fréquences soient reproduites exactement au même niveau (contrôle au VU-mètre ou mieux à l'oscilloscope).

La figure 1 résume les branchements à effectuer pour le procédé avec « bande-mère », le plus « professionnel » et aussi le plus recommanda-ble pour tous travaux de duplication en nombre.

La figure 2 décrit la solution « amateur » utilisant deux platines cassette pour opérer une copie en une seule étape.
Plus encore que lors de copies de cassettes musicales, un grand soin est de rigueur : propreté et bon état des appareils, bande de bonne qualité, réglage rigoureux des niveaux (juste avant la « zone rouge »), mais surtout pas dedans.

Ne perdons pas de vue, en effet, qu'à une vitesse de bande de 4,75 cm/s dans la cassette et pour un débit d'informations de 2 000 bauds, un « bit » (1 ouO) ne dure que 0,5 ms et occupe une longueur de bande de ...24/* (millièmes de millimètre) ! Le moindre défaut, à peine perceptible sur de la musique, peut modifier l'état d'un bit et compromettre le chargement du programme !

Moyens de transmission

Puisque les données informatiques enregistrées sur les cassettes d'Amstrad peuvent être manipulées comme du son, il n'est pas interdit de songer à les transmettre par les divers moyens de télécommunication qui s'offrent à nous.

Les transmissions directes entre ordinateurs sont courantes grâce aux modems, appareils utilisant précisément la technique « FSK » et des vitesses de l'ordre de 1 200 bauds. Pour notre part, nous envisagerons plutôt la transmission de cassettes logicielles par des moyens plus rapides que le courrier, et permettant éventuellement la distribution simultanée d'un même programme à de multiples destinataires.

Des expériences très positives ont d'ailleurs été faites par la station de radio hollandaise NOS, qui a diffusé sur son antenne « ondes moyennes » des logiciels qui ont été reçus par des milliers d'auditeurs dans toute l'Europe de l'Ouest et jusqu'en Algérie ! Tout cela pour montrer qu'il est très faisable de copier une cassette à des dizaines ou centaines de kilomètres de distance soit par radio, soit par téléphone.

La transmission de programmes informatiques est une nouvelle activité qui intéresse beaucoup les radio-amateurs, les cibistes et même certains responsables de radios locales privées (FM). Une cassette informatique d'Amstrad peut être transmise exactement comme une cassette de musique ou de paroles : simplement, il faut que la liaison soit excellente, sans parasite, c'est-à-dire à relativement courte distance et avec du bon matériel d'émission et de réception.

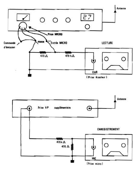
La figure 3 donne un exemple d'installation permettant, avec un minimum de soins, la transmission de programmes à l'aide d'émetteurs-récepteurs « CB » : en fait, de simples atténuateurs à résistances suffisent pour adapter les niveaux de signal rencontrés sur les « radios » et sur les magnétophones 1

A la figure 4, nous découvrons un procédé rustique mais utile permettant de transmettre des programmes par téléphone. Bien évidemment, la qualité de la liaison devra être bonne, ce qui est plus ou moins fréquent (ou rare !) selon les régions.

Le principe de l'opération consiste à démonter l'écouteur supplémentaire de chacun des postes téiéphoniques ordinaires utilisés, ce qui libère deux fils à chaque bout de la ligne.
Sous réserve qu'un silence rigoureux règne au voisinage du combiné décroché (le calfeutrer si nécessaire !), tout signal audio injecté dans ces fils à un bout de la liaison pourra être récupéré à l'autre bout s'il ne se compose que de fréquences comprises entre 300 et 3 400 Hz (la « grande vitesse » est donc parfaitement utilisable pour diviser la note par deux !)
Le niveau reçu est souvent un peu fort pour une entrée MICRO de magné-tocassette, mais un atténuateur très simple suffit pour que tout rentre dans l'ordre. Un branchement direct peut par contre être effectué sur une entrée « ligne » (LINE IN).

Il importe de régler le niveau de lecture du magnétophone transmetteur pour que le son perçu dans le combiné ne soit ni plus fort, ni plus faible que pour une conversation normale. Du point de vue de la réception, il faudra régler avec soin le niveau d'enregistrement, sauf s'il est automatique.

Précisons bien que toutes ces idées, même si elles ont été soigneusement vérifiées « sur le terrain », ne sont pas à considérer comme des recettes « clés en main » : les conditions locales sont trop variables, tant en radio qu'en téléphonie.

Elles doivent être donc considérées comme des axes de recherche qu'il faut adapter à votre cas personnel. C'est précisément le plus passionnant...

Page précédente : 8/5 - Systèmes et méthodes de transfert de fichiers
Je participe au site:

» Vous avez remarqué une erreur dans ce texte ?
» Aidez-nous à améliorer cette page : en nous contactant via le forum ou par email.

CPCrulez[Content Management System] v8.732-desktop/c
Page créée en 639 millisecondes et consultée 1657 fois

L'Amstrad CPC est une machine 8 bits à base d'un Z80 à 4MHz. Le premier de la gamme fut le CPC 464 en 1984, équipé d'un lecteur de cassettes intégré il se plaçait en concurrent  du Commodore C64 beaucoup plus compliqué à utiliser et plus cher. Ce fut un réel succès et sorti cette même années le CPC 664 équipé d'un lecteur de disquettes trois pouces intégré. Sa vie fut de courte durée puisqu'en 1985 il fut remplacé par le CPC 6128 qui était plus compact, plus soigné et surtout qui avait 128Ko de RAM au lieu de 64Ko.