CODINGCLASSEURS WEKA ★ Comment exploiter toutes les ressources et augmenter les performances de votre AMSTRAD CPC ★

8/5.2.4.2 - Connexion à un minitel (!)Coding Classeurs Weka
8/5.2.4 - Connexions et programmes

8/5.2.4.2 - Connexion à un minitel

La connexion d'une interface RS-232 à un minitel peut s'effectuer relativement facilement moyennant quelques points de soudure et l'achat de trois composants.

Le format des signaux délivré par la fiche péri-informatique du minitel (fiche DIN 5 broches à l'arrière ( voir Partie 10, chap. 1.1 ) est le suivant pour un caractère (Fig. 1).

On remarquera qu'il est simulable par programmation de la RS-232 (T 200 bauds [réception et émission], 7 bits, 1 bit de parité paire, 1 bit de stop).

Le problème est posé par les niveaux logiques ; en effet un niveau OV du minitel devra correspondre à un +12V pour la RS-232 et un 5V (niveau logique « 1 ») à un niveau - 12V.
Cette adaptation sera réalisée par deux composants : les MC1488 et MC1489 classiques dans ce type de montage. Ces composants modifient la tension du signal à leur entrée, tout en les inversant. Une résistance dite de Pull-up sera connectée au + 5V et à la sortie TX du minitel (cette sortie étant de type collecteur-ouvert).

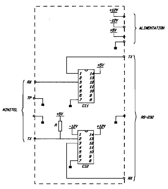
Schéma structurel :


Fig. 2 : Ciblage imprimé de la carte d'adaptation vue côté cuivre.


Fig. 3 : Circuit imprimé, côté soudure.

I - Montage du boîtier

Nomenclature :
C11 : MC 1489
C12 : MC1488
R : 10k0¼W

La réalisation pourra se faire par un câblage imprimé ou sur une plaque de type « Board à souder » vue le faible nombre de composants (Fig. 2).


Fig. 3

A. DESCRIPTION DU MONTAGE

Vous pourrez connecter les fils d'alimentation, sur une alimentation spécialement conçue pour l'adaptation (délivrant les trois tensions + 5V, + 12V, -12V, référencées par rapport à la masse commune 0V -ATTENTION : Le + 5V ne devra pas être commun avec le + 5V de votre micro-ordinateur sous peine de surprises désagréables quant à la durée de vie de ce dernier).
Le plus économique et le plus rapide est d'intégrer le montage dans le boîtier de l'interface RS-232 et de monter une prise DIN femelle type châssis sur le boîtier.

Un bon fer à souder et une technique de soudage correcte sera utile (attention à ne pas trop chauffer).

Tout d'abord, vous dévisserez le boîtier de la RS232, qui doit s'enlever sans problème. Deux autres vis maintiennent la carte de circuit imprimé ainsi que le connecteur Cannon DB-25. Une fois soulevés, vous aurez largement la place pour installer votre montage.

Caractéristiques des composantsConfiguration des broches
MC 1488


VUE DE DESSUS

MC 1489
VUE DE DESSUS

Vous remarquerez sur la carte imprimée deux composants intégrés MC1488 et MC1489. N'hésitez pas à souder – avec précaution tout de même ! – les fils d'alimentation sur les pattes vues côté cuivre (prenez soin de bien repérer les broches) dont la masse sur la broche 7 du CM 1488, le - 12V sur la 1 et le + 12V sur la 14, une seule soudure sur la broche 14 du MC1489 pour connecter le +5V.

Le fil TX côté RS-232 sera soudé sur la broche 11 du MC1488 et le fil RX sur la broche 4 du MC1489.

Vous pourrez percer à l'arrière la partie inférieure du boîtier au diamètre de votre fiche DIN femelle et vous souderez le fil TX côté minitel sur la broche repérée 1 de la fiche DIN, le fil RX sur la broche 2 et la masse sur la broche centrale repérée 3 (Fig. 4).

Avant de remonter le tout, découpez une feuille de papier à la dimension du circuit imprimé de l'interface, que vous placerez entre celui-ci et le vôtre pour éviter tout court-circuit. Vous pouvez maintenant refixer le circuit imprimé et le boîtier en veillant à ne pas pincer les fils de liaisons.

Un câble volant vous sera nécessaire pour connecter votre minitel sur l'interface. On préférera le fabriquer soi-même à l'aide de trois fils (un câble blindé serait encore mieux, mais pas expressément recommandé sur une liaison relativement courte) que vous connecterez broche à broche sur les nos 1, 2 et 3 de deux fiches DIN mâles. Méfiez-vous des câbles du commerce, certains possèdent des croisements dans les liaisons qui mettraient en danger votre montage.

De la patience, de la méthode et un travail méticuleux vous permettront de réaliser un montage fiable qui va vous permettre d'utiliser les ressources du minitel dans les programmes suivants.


Fig. 4

B.   ESSAI PRÉALABLE

Vous pourrez essayer votre montage à l'aide du programme précédent. il vous suffira de modifier la ligne 50 par la ligne suivante :

50 |SETSIO, 1200,1200,0,7,1,0

Le minitel ne possédant pas de possibilité de fenêtrage, vous verrez sur celui-ci s'afficher les caractères émis à côté des caractères reçus, mais vous aurez une idée, si le cas se produit, de la partie de votre montage, qui ne fonctionne pas.

C.   MAINTENANCE SUPERFICIELLE

–   premièrement vérifiez votre programme ;

–   deuxièmement vérifiez les alimentations des composants (si un composant est brûlant, il y a un court-circuit, il faudra très certainement le changer) ;

–   si aucun caractère frappé sur l'ordinateur ne s'affiche sur le minitel, vérifier la partie fléchée de droite à gauche sur le schéma structurel.

–   si aucun caractère frappé sur le minitel ne s'affiche sur l'écran de votre Amstrad, vérifiez la partie fléchée de gauche à droite sur le schéma structurel.
Lorsque tout fonctionnera correctement, vous pourrez passer aux programmes suivants.

II  Logiciels pratiques d'utilisation minitel

A.  SAUVEGARDE DE PAGES MINITEL

Lorsque vous explorez l'univers attirant du réseau télématique français, et, qui plus est, le passionnant kiosque (TELETEL3 ou encore 3615), il faut vous attendre à une facture téléphonique élevée si vous passez un temps non négligeable à lire les écrans proposés. Vous utilisez probablement des boîtes aux lettres télématiques, ou consultez les horaires ferroviaires, ou encore vos relevés bancaires... Voilà un moyen d'alléger vos factures :

Un programme de sauvegarde de pages écrans sur vos disquettes, ou cassettes, vous permettra de rester juste le temps nécessaire à l'affichage de la page.

Le programme présenté enregistre les pages en mémoire centrale dans un tableau pré-défini de 3 000 caractères (dimensionnables dans la limite de votre mémoire disponible).

Cette taille doit cependant être la taille minimale pour une page, car certains serveurs vous proposent des pages animées très avides de caractères.

*  Algorithme du programme

* Programme

Après avoir entré et sauvegardé ce programme, vous pourrez l'exécuter ; toutes les instructions sont affichées à l'écran. Nous vous conseillons d'effectuer un essai préalable en frappant des caractères à enregistrer sur le clavier du minitel. Si vous n'avez pas fait d'erreur de frappe et que votre interface RS232 ainsi que le montage précédent fonctionne correctement, vous pourrez relire la page enregistrée avec le programme proposé ensuite.

–   Ligne 70 : On spécifie une durée d'attente maximale de caractères de 10 000 millisecondes au cas où vous utiliseriez ce programme durant une période d'affluence sur le serveur, ce qui a pour fâcheuse incidence de ralentir considérablement la communication, voire la bloquer.

–   Ligne 270 : Si un caractère n'est pas reçu dans le délai imparti, r% = 512, on quitte la sauvegarde temporaire et on va à la sauvegarde sur support.

Lorsque la sauvegarde sur disquette (ou cassette) est en cours, vous pouvez sans probème déconnecter votre minitel de la ligne. Vous pouvez même effectuer cette manœuvre avant, ceci aura pour effet d'attendre 10 secondes avant de procéder à l'enregistrement.

Votre page minitel, une fois sauvegardée, il ne vous reste plus qu'à la lire.

B.  LECTURE D'UNE PAGE MINITEL SAUVEGARDÉE

La lecture s'effectuera en mode non connecté, le fichier de sauvegarde sera envoyé séquentiellement sur le minitel par l'intermédiaire de la prise péri-informatique. La visualisation sera celle de la ou des page(s) que vous aurez enregistrées précédemment. Aucune action particulière ne sera nécessaire à partir du clavier du minitel.

* Algorihme du programme

* Programme

–   Le fichier est lu entièrement en lignes 140 à 210 puis envoyé sur le minitel caractère par caractère en lignes 230 à 280. On vérifie en ligne 260 que le caractère précédent a bien été envoyé avant d'envoyer le suivant.

–   S'il se produit des erreurs lors de la lecture des pages écran minitel, par exemple, s'il manque des caractères, ou si les graphismes ne sont pas conformes à ceux normalement enregistrés, alors modifiez les lignes 260 à 290 du programme SAUVEGARDE DE PAGES MINITEL, page 11, et remplacez-les par les lignes qui suivent.

260 |INCHAR,@r%,a
270 fich(i)=PEEK(a)
280 i=i+1
290 GOTO 260

–   Les lignes 300 à 320 seront effacées. Vous effacerez aussi les lignes 350 à 385.

–   Cette modification vous évitera de « rater » des caractères, notamment pour le cas des pages écran très fournies en graphismes et animation, où un seul affichage peut demander l'envoi de plusieurs codes ASCII; mais l'inconvénient est qu'il faut surveiller le défilement de la page afin de pallier un éventuel blocage du serveur lors de l'enregistrement. On frappera alors deux fois sur la touche < ESC > pour sauvegarder le fichier enregistré.

C.  COMMUNICATION DE DONNEES PAR LIGNE TELEPHONIQUE

Votre Amstrad connecté sur une ligne téléphonique, voilà l'occasion rêvée de faire profiter vos amis éloignés de vos fichiers précieusement sauvegardés sur disquette.
Les deux programmes qui suivent – l'un pour envoyer un fichier, l'autre pour le recevoir – vont vous permettre de vous échanger vos fichiers numériques par l'intermédiaire des télécommunications (Fig. 4).

Un petit problème subsiste : si les vitesses d'émission et de réception sont les mêmes sur les liaisons RX et TX de la fiche péri-informatique du minitel (1 200 bauds par défaut), il n'en est pas de même pour le modem qui transmet sur la ligne téléphonique. En effet, celui-ci émet à 75 bauds et reçoit à 1 200 bauds. On ne peut donc pas connecter deux minitels ensemble et dialoguer ainsi.

Si vous êtes un des nombreux possesseur de minitel à modem retourna-ble (vous le saurez en lisant la fiche signalétique sous l'appareil : il est indiqué la mention Modem Retournable) vous pourrez pallier cet inconvénient par programmation du minitel au travers de la prise péri-informatique, donc de votre RS-232. On préférera faire émettre à 1 200 bauds le système envoyant le flot de caractères le plus important.


Fig. 4

*  Programme Emission

On relira avec profit la Partie 10, chapitre 1.2.1 « Programmation du minitel ».

–   Ligne 100 : On essaiera, dans les programmes de transmission de données, de définir les valeurs ASCII des caractères de contrôle par des variables.

–   Ligne 160 : L'ordinateur s'assure que le fichier à émettre est bien un fichier numérique.

–   Lignes 240-380 : Le modem est mis en opposabilité (envoi de la séquence &1B, &39, &6F) pour émettre à 1 200 bauds, puis il est connecté à la ligne (séquence &1 B, &39, &68) pour émettre la porteuse qui permettra au minitel distant de se connecter.

–   Lignes 400-440 : Cette temporisation laisse le temps au minitel distant de se connecter à la ligne. Une astuce est employée pour vider le buffer de réception d'éventuels caractères reçus durant ce temps (caractères d'acquittement du protocole du minitel) : on ferme et on ouvre la liaison RS-232 dans cette boucle.

–   Lignes 460-520 : L'émetteur interroge le récepteur en envoyant ACK, puis attend un caractère en réponse. Si ce caractère n'arrive pas avant 5 secondes (ci ligne 70) alors R% = 512, on considère que le récepteur n'est pas présent (aller en ligne 1050).

–   Ligne 590 : TANT QUE la fin du fichier n'est pas atteinte.

–   Lignes 620-670 : On émet la longueur du nombre (transformé en chaîne de caractères car le minitel ne peut envoyer que des caractères ASCII). En fait on va émettre un caractère ASCII, mais qui doit être supérieur à &20 ( = 32) car les caractères ASCII compris entre Oet &1Fsont des caractères de contrôle. On enverra donc la longueur plus 32 (la longueur maximale du nombre sera égale à &7F-&20 = 127-32 = 95 chiffres, ce qui est plus que vraisemblable). Le récepteur retranchera 32 à la valeur ASCII reçue pour reconstituer la longueur du nombre.

–   Lignes 680,690 : Attente d'un accusé de réception avant d'envoyer le nombre.

–   Lignes 700-810 : Le nombre est envoyé chiffre par chiffre, en n'oubliant pas le signe ou l'exposant puisque l'on émet la valeur ASCII de chacun des caractères de la chaîne composant le nombre. Un point est affiché à l'écran pour chaque caractère émis.

–   Ligne 850 : Envoi du caractère EOT (End Of Transmission = fin de transmission) pour signaler au récepteur qu'un nombre a été envoyé complètement.

–   Lignes 860-900 : Attente d'un acquittement de la part du récepteur. Si l'acquittement n'est pas reçu dans les 5 secondes, la communication est coupée.

–   Ligne 910 : FIN TANT QUE

–   Ligne 960 : Envoi d'un deuxième EOT signalant la fin de la transmission totale.

–   Lignes 990-1070 : Traitement des problèmes de communication.

–   Lignes 1080-1200 : Déconnexion du minitel.

**********************

*  Programme Réception

D.  ECHANGES DE PROGRAMME PAR LIGNE TELEPHONIQUE

Vous avez écrit des programmes BASIC originaux et intéressants, pourquoi, entre Amstradistes chevronnés, ne pas créer un réseau d'échanges par ligne téléphonique.
Voici deux programmes (Emission et Réception) qui vous permettront les échanges avec une fiabilité remarquable.

Vous pourrez d'ailleurs, à titre d'entraînement, utiliser la méthode de transfert pour f'échange de données.

Contrairement aux fichiers de données, un programme Basic possède des caractères de contrôle (essayez la commande CPM: TYPE PROGRAMMAS ; vous aurez quelques surprises à l'écran).
Il vous faudra donc sauvegarder le programme sous sa forme ASCII par l'instruction :

SAVE "PROGRAM",A

De plus les caractères , et " sont considérés comme des séparateurs pour l'instruction
INPUT#9, variable aphanumérique aussi il nous faudra utiliser

LINE INPUT#9, variable alphanumérique qui rangera une ligne entière de programme dans ta variable.
Afin d'améliorer la fiabilité de l'échange, le programme d'émission, après avoir envoyé un caractère, attend le retour de ce même caractère. Si celui-ci est différent, on le renvoie, jusqu'à ce qu'il soit correct. Une fois correct, un accusé réception est envoyé pour signaler que l'on passe au caractère suivant.

Un accusé réception est envoyé à chaque fin de ligne, puis on attend ACK pour passer à la ligne suivante.

EOT est envoyé en fin de programme, puis la communication est rompue. Le programme récepteur gère le processus inverse, comme nous l'analyserons dans les deux programmes suivants.

–   Lignes 310-330 : Le programme émet ACK pour signaler qu'il est prêt et attend durant 10 secondes un caractère signalant la présence du destinataire.

–   Ligne 300 : Début du programme d'envoi du fichier ASCII représentant le programme à transmettre.

–   Lignes 450-480 : On attend que le caractère précédemment envoyé soit reçu. Si le caractère reçu est erroné, on le renvoie (THEN 410).

–   Lignes 500-520 : Envoi de ACK pour signaler que le caractère est bon.

–   Lignes 550-570 : Envoi ACK pour signaler que la ligne de programme est terminée.

–   Lignes 580-620 : Attente de ACK pour passer à la ligne de programme
suivante.

–   Lignes 630-700 : Envoi de EOT pour signaler la fin de la transmission, qui se termine par une déconnexion en lignes 740 à 820.

–   Lignes 720-730 et lignes 830-860 : Affichage d'une information d'erreur durant la transmission puis déconnexion du minitel à la ligne.

* Programme Réception

–   Ligne 100 : Dimensionnement d'un tableau qui recevra caractère par caractère une ligne de programme pouvant aller jusque 255, maximum admis.

–   Lignes 110-120 : Le fichier est préparé de suite afin de gagner du temps lors de la transmission.

–   Lignes 170-240 : Après réception de ACK lui demandant de se signaler, le programme envoie ACK.

–   Ligne 260 : On pointe la première variable du fichier LIGNE(I) puis la retransmission débute.

–   Ligne 300 : Si on a reçu ACK, il faut alter traiter la fin de ligne entrée.

–   Ligne 310 : Sur réception de EOT, le programme est totalement reçu.

–   Lignes 320-390 : Le caractère reçu est renvoyé aussitôt, et sur réception de ACK il est sauvé (ligne 400) sinon il faut aller le relire (THEN 290).

–   Lignes 440-500 : Une ligne de programme peut être reconstituée, et elle est de suite sauvegardée. Cette méthode permet de transférer des programmes sans limitation de taille (tout dépendra de la place qu'il reste sur votre disquette, méfiez-vous du « DISK FULL »}.

–   Lignes 530-560 : Fermeture du fichier et fin du programme.

–   Lignes 570-650 : Affichage des éventuelles erreurs de transmission pouvant intervenir.

E.  UN REPONDEUR TELEMATIQUE

Qui n'a pas envie de posséder un répondeur/enregistreur chez lui afin de prendre les communications importantes qui pourraient lui être transmises.

Le minitel étant de plus en plus répandu, votre correspondant reconnaîtra automatiquement la tonalité aiguë de la porteuse, l'invitant à brancher son minitel et à se connecter.
Votre Amstrad s'occupera alors de prendre les éventuels messages que vous pourrez relire ultérieurement.

Si vous êtes présent, vous verrez le nom de votre correspondant s'inscrire sur votre écran, et vous pourrez couper la communication télématique pour reprendre oralement (Fig. 5).
Pour réaliser votre répondeur : un AMSTRAD avec lecteur de disquette, une interface RS-232C avec le montage précédent, un minitel connecté à l'interface, le montage du détecteur de sonnerie (voir la Partie IO, chap. 4.3) et les programmes qui suivent.

Le montage détecteur de sonnerie sera connecté sur la fiche manette de jeu de votre Amstrad. Une vérification de son fonctionnement pourra être visuelle. Lorsque la sonnerie retentira, vous devrez voir apparaître sur votre écran une des flèches de direction ou le caractère X. Si ce n'est pas le cas, vérifiez les raccordements.


Fig. 5

*  Programme d'initialisation du fichier messages

Ce programme permet de créer un fichier nommé « MESSAGE. » qui sauvegardera tous les messages créés par vos correspondants.

Il vous permettra aussi d'effectuer tous les messages que vous aurez préalablement lus.

Il est conseillé de sauvegarder ce programme sous le nom « INI-MES.BAS », car il est appelé par le programme de lecture des messages.

*  Programme du répondeur

Après initialisation et dimensionnement des variables MES(I) et NOM(I) respectivement utilisées pour stocker les valeurs ASCII des caractères du Message et du nom du correspondant, voici tes grandes lignes du programme.

–   Lignes 100-160 : L'Amstrad assure la déconnexion du minitel qui est effectuée en lignes 1530-1540.

–   Ligne 190 : Tant que le port Joystick ne répond pas (détecteur de sonnerie), on attend.

–   Lignes 200-280 : Le minitel est placé en mode d'opposabilité (il émettra à 1 200 bauds et recevra à 75 bauds) puis sera connecté à la ligne téléphonique pour mettre sa porteuse.

–   Lignes 300-350 : Un message est envoyé sur l'écran de l'Amstrad pour signaler la présence d'un interlocuteur. Une attente d'environ une dizaine de secondes permettra au correspondant d'allumer son minitel et de se connecter.

–   Lignes 370-800 : Le répondeur vous présente (à ce sujet, n'oubliez pas de modifier la ligne 630) et invite le correspondant à s'identifier sur une ligne de 20 caractères.

–   Ligne 810 : Un temps limite de communication est fixé, ce temps se calcule par la valeur du timer activé, iciletimer 1, multipliée par0.02 s, on a donc un temps de 20000 x 0.02 = 400 s, environ 6 mn et demi (contrairement aux 5 minutes annoncées sur le minitel pour presser un peu les paresseux du clavier). Ces 6,5 mn écoulées, le programme se rendra en ligne 1350. Cette interruption ne sert pas uniquement à presser votre correspondant, mais aussi à déconnecter votre minitel de la ligne au cas où votre correspondant se serait intempestivement volatilisé. En effet le minitel utilisé en émission à 1 200 bauds ne reconnaît pas la perte de la communication, ce qui aurait pour fâcheuse incidence de faire boucler le programme du répondeur et de garder la ligne occupée jusqu'à votre retour.

–   Lignes 820-910 : Acquisition des 20 caractères du nom. Si le code SI 3 est reçu – cela signifie que votre correspondant a appuyé sur une des touches de fonction de son minitel (...) ~ on saute à une « procédure » de traitement.

On remarquera que chaque caractère reçu est aussitôt renvoyé au minitel appelant ; en effet en mode concerné, le minitel ne visualise pas les caractères frappés, c'est le correspondant qui doit lui renvoyer (en mode non connecté, c'est le modem interne du minitel qui boucle sur lui-même pour renvoyer le caractère à l'écran).

–   Lignes 920-950 : Le nom du correspondant est reconstitué puis affiché sur l'écran de l'Amstrad, pour que vous puissiez, si vous êtes présent, prendre la conversation oralement.

–   Lignes 960-1240 : On invite le correspondant à laisser un message de W lignes de 40 caractères. Ces dix lignes sont affichées à l'écran (lignes 1080-1130).

–   Lignes 1240-1350: Attente d'un message de 400 caractères. Comme pour la boucle d'attente du nom, une touche fonction appuyée est reconnue et un branchement s'effectue pour le traitement.

–   Ligne 1370 : Saut à un sous-programme de reconstitution du message reçu.

–   Lignes 1380-1500 : Votre minitel est déconnecté de la ligne, ce qui a pour incidence de déconnecter le minitel de votre correspondant (si par exemple celui-ci avait dépassé le temps imparti, ou avait oublié son minitel pour une raison plus importante que votre message : sachez que les services Teletel font de même quand vous n'appuyez pas sur une touche durant 5 mn).

–   Lignes 1510-1540 : La ligne est de nouveau mise en occupation par connexion du minitel afin de pouvoir sauvegarder le message sur disquette, ce qui prend un temps non négligeable car le fichier « MESSAGE. » est un fichier à accès séquentiel.

–   Lignes 1600-1800 : Le nouveau message doit être enregistré à la suite des précédents messages. Pour ceia le fichier « MESSAGE. » est relu dans des variables alphanumériques et sauvé au fur et à mesure dans un nouveau fichier temporaire appelé « MESSAGE.TEM ». Le nouveau message est enfin sauvegardé à la suite. L'ancien fichier « MESSAGE. » est effacé, puis « MESSAGE.TEMP » est renommé sous le nom « MESSAGE. »
Cette méthode est intéressante car elle permet de ne pas occuper trop de place en mémoire en emmagasinant tous les messages Isi vous vous absentez quelques jours, les messages risquent d'affluer). De plus, si une coupure de secteur EDF intervenait au moment de la sauvegarde, vous aurez plus de chance de récupérer votre fichier.

–   Lignes 1820-1940 : On teste ici quelle est la touche fonction appuyée durant l'entrée du nom. Si cette touche est différente de la touche (code &47) alors on considère que l'utilisateur a terminé d'inscrire son identification. Sinon, on pointe deux variables plus haut dans le tableau NOMO ), puis on prépare l'envoi d'un caractère BS (&08, retour d'un caractère en arrière qui sera renvoyé au minitel).

–   Lignes 2020-2140 : Traitement de la frappe d'une touche fonction durant la réception du message.

–   Lignes 2150-2250 : Reconstitution du message, mais dans deux variables car celui-ci peut contenir jusqu'à 400 caractères. Les variables nulles du tableau MES(I) seront remplacées par des points (&2E).

–   Lignes 2260-2330 : Ce sous-programme permet d'envoyer un nombre J de caractères contenus dans une ligne de DATAs.

–   Lignes 2340-2450 : Ce sous-programme envoie caractère par caractère un nombre J de chaînes alphanumériques contenues en DATA. Remarque : On prendra soin d'entourer la chaîne de caractères avec des guillemets si une virgule est contenue dans celle-ci, sinon le basic considère qu'il a affaire à deux chaînes distinctes et ignore la virgule qui est un séparateur de données.

*  Programme de lecture des messages

De retour chez vous, votre empressement sera de relire les messages reçus. Ce petit programme vous permettra de l'effectuer sur l'écran de votre Amstrad.

–   Lignes 50-100 : Les trois premières chaînes alphanumériques du fichier sont celles qui nous ont permis de le créer, elles sont donc ignorées à l'affichage.

–   Lignes 110-220 : TANT QUE la fin du fichier n'est pas atteinte
          ; Afficher le message suivant
          ; FIN TANT QUE

–   Lignes 260-290 : Le programme vous demande confirmation pour lancer le programme « INIMES.BAS » afin d'effacer tous les messages.

*  Essais du programme

Si vous désirez essayer le programme de répondeur, il faudra que vous empruntiez un minitel à un ami. Vous le connecterez sur une deuxième prise si vous en possédez une chez vous – sinon vous reliez borne à borne à l'aide de fils les bornes 1 et 3 des conjoncteurs mâles (voir Partie 10, chap. 4.3 page 5).

Un joystick remplacera le détecteur de sonnerie.

Vous lancez le programme puis actionnez le joystick. Un claquement discret doit se faire entendre dans Je minitel connecté à la RS232-C. Il est temps de connecter le minitel emprunté. Devant celui-ci, vous serez le correspondant vous appelant et vous n'aurez qu'à suivre les directives.

Prendre la conversation en cours

Lorsque l'on vous appellera, si vous désirez prendre la conversation en cours, rien de plus simple. Frappez deux fois < ESC >, puis installez-vous devant votre minitel. Vous inviterez alors votre correspondant à décrocher le combiné de son téléphone par l'intermédiaire du clavier de votre minitel ; un seul petit problème, vous frapperez vos caractères à l'aveugle car le minitel appelant ne renverra pas votre texte. Toujours de cette façon, vous l'inviterez à frapper deux fois sur . De votre côté, faites de même : la conversation orale peut débuter.

Si vous n'appréciez pas de frapper à l'aveugle, ce petit programme vous permettra d'envoyer tes directives à votre correpondant. Il est à entrer à la suite du programme de répondeur. Après avoir fait deux fois, vous frapperez « GOTO 5000 ». Quelques secondes plus tard (laissez votre correspondant réagir) vous pourrez prendre votre combiné téléphonique et déconnecter votre minitel.

5000 RESTORE 6000
5010 J = 3
5020 GOSUB 2270
5030 J = 2
5040 GOSUB 2350
5050 STOP
6000 DATA &0C,&0C,&0C
6010 DATA Veuillez s'il vous plaît prendre l'ecou-
6020 DATA teur et appuyer sur CONNEXION/FIN

Page précédente : 8/5.2.4.1 - Connexion réduite
Je participe au site:

» Vous avez remarqué une erreur dans ce texte ?
» Aidez-nous à améliorer cette page : en nous contactant via le forum ou par email.

CPCrulez[Content Management System] v8.732-desktop
Page créée en 708 millisecondes et consultée 3147 fois

L'Amstrad CPC est une machine 8 bits à base d'un Z80 à 4MHz. Le premier de la gamme fut le CPC 464 en 1984, équipé d'un lecteur de cassettes intégré il se plaçait en concurrent  du Commodore C64 beaucoup plus compliqué à utiliser et plus cher. Ce fut un réel succès et sorti cette même années le CPC 664 équipé d'un lecteur de disquettes trois pouces intégré. Sa vie fut de courte durée puisqu'en 1985 il fut remplacé par le CPC 6128 qui était plus compact, plus soigné et surtout qui avait 128Ko de RAM au lieu de 64Ko.