CODINGCLASSEURS WEKA ★ Comment exploiter toutes les ressources et augmenter les performances de votre AMSTRAD CPC ★

8/5.2.4.1 - Connexion réduiteCoding Classeurs Weka
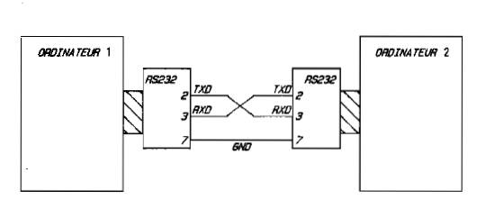
8/5.2.4 - Connexions et programmes

8/5.2.4.1 - Connexion réduite

On remarquera sur la figure ci-dessus qu'il est nécessaire de croiser les liaisons RX et TX pour assurer la transmission correctement. En effet, la ligne d'émission d'un des organes est la ligne de réception de l'autre, et vice versa.

Discussion par clavier interposé : si vous possédez deux Amstrad, ou avez un ami proche de chez vous, vous pouvez, grâce à l'interface RS-232C, discuter avec lui par l'intermédiaire de vos claviers et écrans sur une distance pouvant aller jusque cinquante mètres sans trop de problème, à condition d'utiliser du câble blindé. Si vous n'avez que quelques mètres à faire parcourir à votre discussion, un câble classique suffira.

Nous vous présentons tout d'abord l'algorithme du programme afin de se familiariser avec la programmation structurée.

On remarquera les termes de la programmation structurée notés en majuscules soulignées, et les verbes d'action en minuscules soulignées, ainsi que l'indentation (décalage) lorsque l'on entre dans une structure de traitement suite à un terme d'algorithmique (SI ... ALORS ... FIN SI ; TANT QUE ... FIN TANT QUE).

La structure CO ... FIN CO est une structure dite de commentaire, c'est-à-dire qu'elle permet d'ajouter une explication sur un traitement. Elle ne modifie en rien le déroulement de l'algorithme et est optionnelle.

En algorithmique, tout programme possède un début et une fin, ce qui nous impose de ne pas introduire une structure qui bouclerait en permanence. Le remède peut être l'introduction d'une structure itérative du type :

TANT QUE l'ordinateur est connecté

FIN TANT QUE

Nous avons préféré la structure :

TANT QUE l'on désire communiquer

FIN TANT QUE

que le basic Amstrad résout plus ou moins rigoureusement par la ligne de commande : ON BREAK GOSUB...

* Algorigramme

C'est la représentation symbolisée selon une norme de l'algorithme.

*  Programme

Chacun des deux interlocuteurs lancera le programme. Deux fenêtres seront alors créées :

–   la fenêtre EMISSION qui affichera les caractères frappés au clavier. Ces caractères
seront transmis immédiatement à l'interface RS-232C ;

–   la fenêtre RECEPTION qui affichera les caractères reçus par la RS-232, donc émis par le deuxième interlocuteur.

–   Ligne 50 : Un compromis entre la vitesse et la qualité de la communication est ici choisi. Nous aurions pu utiliser une vitesse de communication supérieure (19 200 bauds), mais la qualité des signaux circulant sur les liaisons en aurait souffert. De plus si le milieu dans lequel vous expérimenterez le programme est générateur de parasites, ou si vous utilisez une liaison assez longue, vous pourrez modifier les valeurs des vitesses de transmission de façon à obtenir une qualité satisfaisante.

–   Lignes 190-200 : On teste si un caractère a été frappé au clavier, mais
on ne l'attend pas, ceci afin de ne pas perdre de caractère reçu par la RS232C.

–   Ligne 240 : On relève ici l'état de la liaison.

–   Ligne 250 : On teste si la ligne d'émission TX est libérée pour émettre
le caractère en Ligne 260.

–   Lignes 290-300 : Test de l'arrivée d'un caractère dans le buffer de
réception de la RS232. Ce test est fait « à la volée » afin de pouvoir émettre le caractère suivant frappé au clavier.

Page précédente : 8/5.2.4 - Connexions et programmes
Je participe au site:

» Vous avez remarqué une erreur dans ce texte ?
» Aidez-nous à améliorer cette page : en nous contactant via le forum ou par email.

CPCrulez[Content Management System] v8.732-desktop/c
Page créée en 305 millisecondes et consultée 3757 fois

L'Amstrad CPC est une machine 8 bits à base d'un Z80 à 4MHz. Le premier de la gamme fut le CPC 464 en 1984, équipé d'un lecteur de cassettes intégré il se plaçait en concurrent  du Commodore C64 beaucoup plus compliqué à utiliser et plus cher. Ce fut un réel succès et sorti cette même années le CPC 664 équipé d'un lecteur de disquettes trois pouces intégré. Sa vie fut de courte durée puisqu'en 1985 il fut remplacé par le CPC 6128 qui était plus compact, plus soigné et surtout qui avait 128Ko de RAM au lieu de 64Ko.